200+客户 超 200 家企业的信赖之选,积累丰富数字化工程管理经验
工程企业数字化整体落地 八大模块全方位赋能,精准覆盖工程企业管理业务全场景
6大方案 覆盖工程设计公司、施工企业、工程设备供应商及工程咨询机构的业务需求
低代码平台 18年低代码平台累积赋能工程管理系统高效、灵活

工程管理系统

建米软件致力于为工程企业做好“数字化赋能工程管理,让项目管理更高效”

  • 材料管理

    采用系统对接、网页采集及文件导入等多元化方式,自动高效采集企业材料入库数据、库存数据与使用数据,并对采集到的数据进行实时动态监控,确保材料管理各环节数据的及时性与准确性,为材料管理报表提供可靠数据支撑 。

  • 材料仓库

    依托材料仓库全流程数据资源,对仓库数据流实施智能化清洗、分类及标签化管理,提升材料仓库数据管理效能。

  • 材料看板

    构建材料数据综合看板,整合材料采购、库存、消耗等全链路数据,实现对材料供需态势更全面、深入的洞察,为材料管理与成本优化提供精准决策依据。​

  • 投标项目

    建立投标项目全周期台账,对投标报名、投标保证金缴纳及中标保证金管理等关键节点实施数字化登记与动态跟踪。

  • 中标结果登记

    建立投标项目中标结果登记机制,对中标项目的标段信息、中标金额、工期要求等关键数据进行实时录入与存档管理。

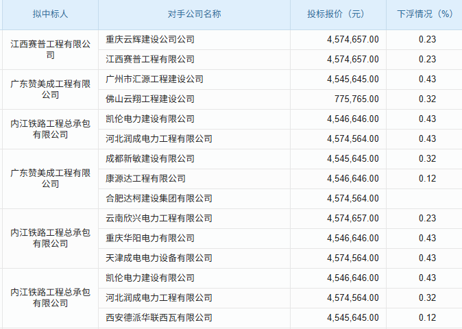
  • 竞争对手分析

    构建竞争对手分析表,系统梳理对手投标报价策略、技术方案优势、过往中标业绩、企业资质等级及项目实施能力等核心信息,深度剖析其竞争态势与优劣势。

  • 项目巡检

    制定项目巡检记录表,系统登记项目现场安全隐患、质量管控、进度偏差、资源投入等关键信息,实现对项目执行情况的动态跟踪与风险预警。

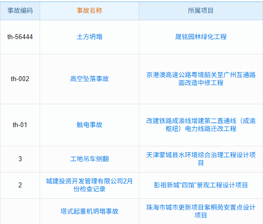
  • 事故管理

    建立事故管理台账,详细记录事故发生时间、地点、类型、影响范围、直接经济损失等信息,同步跟进事故原因调查、责任认定、整改措施落实及处理结果,实现事故全流程闭环管理 。

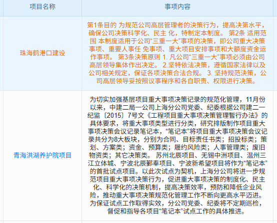
  • 重大事项报告

    建立重大事项报告制度,对项目施工中出现的安全事故、质量缺陷、工期延误、合同变更等重大情况,及时、准确记录事件详情、影响程度、当前处置措施及后续应对计划,确保管理层第一时间掌握关键动态并做出决策。

  • 收入合同

    搭建收入合同管理体系,系统登记合同签订时间、合同金额、付款节点、履约条款、结算方式等核心要素,动态跟踪合同执行进度与款项回收情况,保障营收数据清晰可控 。

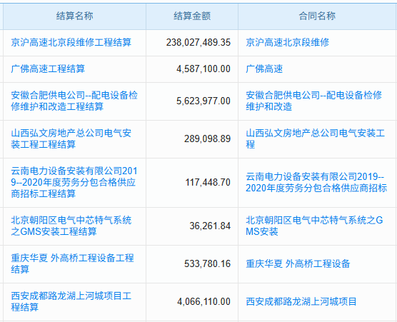
  • 完工结算

    构建完工结算管理流程,全面记录项目工程量完成情况、变更签证内容、合同价款调整依据、结算争议协商结果等关键信息,严格审核结算资料,确保项目收入准确确认、款项及时回收。

  • 收入合同报表

    编制收入合同报表,系统整合合同编号、签订主体、合同总金额、分阶段收款计划、实际到账金额、履约进度等数据,直观呈现收入合同执行全貌与营收趋势,助力企业精准把控经营成果与现金流状况。

  • 进度款申报(劳务)

    建立劳务进度款申报专项台账,详细登记劳务作业班组名称、合同约定工作内容、实际完成工程量、劳务人员考勤工时、经核定的劳务单价与总价、申报批次、申报金额、监理及甲方审核意见、付款进度等信息,确保劳务进度款项申报流程规范透明、核算精准无误。

  • 完工结算(劳务)

    构建劳务完工结算管理体系,系统梳理劳务队伍完成的全部工程量、合同外变更签证内容、工时统计、工费单价调整依据、质量验收结果、争议协商处理情况等信息,严格审核结算资料,确保劳务费用结算清晰准确、及时支付到位。

  • 劳务人员工资明细表

    制作劳务人员工资明细表,详细罗列劳务人员姓名、身份证号、所属班组、考勤日期、出勤天数、加班时长、基础工资标准、绩效工资、奖金补贴、应扣款项(社保、个税等)、应发工资、实发工资、签字确认等信息,确保劳务人员工资核算清晰透明、发放有据可依。

  • 费用报销

    建立费用报销管理台账,详细记录报销人姓名、所属部门、报销日期、费用类型(差旅、办公、材料等)、报销金额、发票信息、审批流程节点、实际支付时间等内容,实现费用报销全流程电子化管理与合规性审核,确保企业成本支出清晰可控。

  • 备用金发放

    建立备用金发放管理机制,详细登记领款人姓名、所属部门、备用金用途、申请金额、审批意见、发放日期、预计归还时间等信息,动态跟踪备用金使用进度与核销情况,确保备用金管理规范透明、资金流向可追溯。

  • 财务报表

    编制财务报表体系,整合资产负债表、利润表、现金流量表等核心报表,系统呈现企业资产状况、经营成果及现金流动情况,精准反映项目成本构成、收入实现及资金周转效率,为管理层决策提供全面、可靠的财务数据支撑。

行业解决方案

为企业提供工程管理一体化解决方案

工程企业管理系统解决方案 聚焦工程行业项目制、多主体协作特性
  • 借助工程管理系统自动化审批与数据联动功能,智能处理进度款申报、费用报销等高频事务,减少跨部门沟通成本,让团队专注项目质量把控与风险应对
  • 构建全流程数据共享平台,整合合同履约、劳务结算、财务收支等多源信息,实时生成动态报表,实现项目成本、进度、质量的可视化管理与精准决策。
  • 投标管理
  • 收入合同
  • 劳务管理
  • 材料管理
  • 资料管理

合作客户

服务300 余家工程企业(含建筑央企、地方国企、民营施工企业),覆盖房建、市政、公路、机电安装等领域

科兴营销管理系统
永晟建设
从工程订单到施工流程管控到竣工结算管理,端到端工程业务闭环,实现信息流、物资流、资金流合一和业财一体化,提升业务运转效率并强化产建协同。
科兴营销管理系统
开先集团
建立以客户为中心,任务指标为目标,绩效为动力的考核体系,通过PDCA正循环不断提升团队能力,服务客户与保障目标完成
科兴营销管理系统
恒富集团
建立费用管控体系,一健分析产品、客户、终端、代表等多维度分析效益,优化投入方向,提升投入产出
深圳瑞霖医药(一期)
凯展建设
历经多年建设,完成项目全生命周期、供应链、业务流、资金流、管理流全面的工程数字化建设
深圳瑞霖医药(二期)
远晟建设
建立以客户为中心,任务指标为目标,绩效为动力的考核体系,通过PDCA正循环不断提升团队能力,服务客户与保障目标完成
深圳瑞霖医药(三期)
思通智控
一健分析产品、客户、终端、代表等多维度分析效益,优化投入方向,提升投入产出
华润医药商业集团(一期)
星光裕华照明
建立以上游推广合作全过程跟踪,建立集团型三级推广服务体系,发挥集团和规模效益
华润医药商业集团(二期)
中翔建设
为深度营销业务开展完善指标及绩效管理方案、费用与业务过程合规管控
深圳信立泰药业(一期)
驰誉集团
主数据清洗确保质量,数据流向管理明晰路径,订单管理高效执行,共筑企业信息管理基石
深圳信立泰药业(二期)
明俊铸造
通过材料管理系统提升对客户的服务能力和满意度,加强订单的合规化、提升订单和货物的流转效率
悦康药业集团(一期)
绍晟钢铁
建立从订单到回款到结算端到端全业务链数字化,实现货、票、款三位一体化管理
悦康药业集团(二期)
陕西旺同建设工程有限公司
实现从准入到签定服务协议到推广项目执行到审查到支付全业务链管理,保障营销推广的合规性。
科兴营销管理系统
开先集团
建立以客户为中心,任务指标为目标,绩效为动力的考核体系,通过PDCA正循环不断提升团队能力,服务客户与保障目标完成
科兴营销管理系统
恒富集团
建立费用管控体系,一健分析产品、客户、终端、代表等多维度分析效益,优化投入方向,提升投入产出
深圳瑞霖医药(一期)
凯展建设
历经多年建设,完成项目全生命周期、供应链、业务流、资金流、管理流全面的工程数字化建设
深圳瑞霖医药(二期)
远晟建设
建立以客户为中心,任务指标为目标,绩效为动力的考核体系,通过PDCA正循环不断提升团队能力,服务客户与保障目标完成
深圳瑞霖医药(三期)
思通智控
一健分析产品、客户、终端、代表等多维度分析效益,优化投入方向,提升投入产出
华润医药商业集团(一期)
星光裕华照明
建立以上游推广合作全过程跟踪,建立集团型三级推广服务体系,发挥集团和规模效益
华润医药商业集团(二期)
中翔建设
为深度营销业务开展完善指标及绩效管理方案、费用与业务过程合规管控
深圳信立泰药业(一期)
驰誉集团
主数据清洗确保质量,数据流向管理明晰路径,订单管理高效执行,共筑企业信息管理基石
深圳信立泰药业(二期)
明俊铸造
通过材料管理系统提升对客户的服务能力和满意度,加强订单的合规化、提升订单和货物的流转效率
悦康药业集团(一期)
绍晟钢铁
建立从订单到回款到结算端到端全业务链数字化,实现货、票、款三位一体化管理
悦康药业集团(二期)
陕西旺同建设工程有限公司
实现从准入到签定服务协议到推广项目执行到审查到支付全业务链管理,保障营销推广的合规性。
科兴营销管理系统
开先集团
建立以客户为中心,任务指标为目标,绩效为动力的考核体系,通过PDCA正循环不断提升团队能力,服务客户与保障目标完成
科兴营销管理系统
恒富集团
建立费用管控体系,一健分析产品、客户、终端、代表等多维度分析效益,优化投入方向,提升投入产出
深圳瑞霖医药(一期)
凯展建设
历经多年建设,完成项目全生命周期、供应链、业务流、资金流、管理流全面的工程数字化建设
深圳瑞霖医药(二期)
远晟建设
建立以客户为中心,任务指标为目标,绩效为动力的考核体系,通过PDCA正循环不断提升团队能力,服务客户与保障目标完成
深圳瑞霖医药(三期)
思通智控
一健分析产品、客户、终端、代表等多维度分析效益,优化投入方向,提升投入产出
华润医药商业集团(一期)
星光裕华照明
建立以上游推广合作全过程跟踪,建立集团型三级推广服务体系,发挥集团和规模效益
华润医药商业集团(二期)
中翔建设
为深度营销业务开展完善指标及绩效管理方案、费用与业务过程合规管控
深圳信立泰药业(一期)
驰誉集团
主数据清洗确保质量,数据流向管理明晰路径,订单管理高效执行,共筑企业信息管理基石
深圳信立泰药业(二期)
明俊铸造
通过材料管理系统提升对客户的服务能力和满意度,加强订单的合规化、提升订单和货物的流转效率
悦康药业集团(一期)
绍晟钢铁
建立从订单到回款到结算端到端全业务链数字化,实现货、票、款三位一体化管理
悦康药业集团(二期)
陕西旺同建设工程有限公司
实现从准入到签定服务协议到推广项目执行到审查到支付全业务链管理,保障营销推广的合规性。

关于我们

深耕工程行业十八载,以数字化技术驱动工程管理革新

功能亮点

工程系统的特点优势

HR系统研究

平台支撑

自主研发的低代码开发平台为系统提供强大支撑,平台提供了开发引擎、集成引擎、流程引擎、规则引擎、移动引擎等工具集,具有极强的扩展性、灵活性

HR系统研究

全链赋能

以数据贯通 “渠道建设 - 施工执行 - 市场拓展 - 绩效管控” 全链条,构建工程企业数字化管理闭环

HR系统研究

精准营销

以工程全要素数据为核心,构建 “数据采集 - 智能分析 - 决策支撑” 闭环,通过私有化部署与定制化开发,赋能工程企业数据驱动转型

HR系统研究

精准费控

建立销售支持和市场支持政策,实现费用支出的精细化管理,实现产品投入产出、市场推广投入产出和人效的分析,帮助营销作投入科学决策,更好提高人效,更好实现目标

新闻资讯

工程行业 CRM 与项目流向管理深度解析

公司新闻
智慧工地系统哪家好
智慧工地系统哪家好   工程项目管理软件要注意的是需要突破现有局面的,在IT行业,这已经是有例子存在了。当年强大无比的诺基亚,...
查看详情 2012-02-02
公司新闻
房地产开发企业项目管理系统
房地产开发企业项目管理系统   房地产项目管理是工程项目管理的一个分类,是房地产项目的管理者运用系统工程的观点、理论和方法,对房地...
查看详情 2012-02-05
公司新闻
基建合同管理系统
基建合同管理系统   在工程项目的建造过程中,发包方和承包方双方关系的建立和解除都以“合同”这一契约关系来实...
查看详情 2012-02-14
公司新闻
投资建设项目管理软件
投资建设项目管理软件   投资立项管理系统是泛普公司基于项目投资管理要求,针对建设工程综合管理需要,以项目管理为主线,自主研发...
查看详情 2012-02-04
在线咨询
在线咨询
电话咨询 电话沟通
400-8352-114  
微信咨询
微信咨询
预约演示 预约演示